Micro DNC-518
Réf.: ACFD124Micro compact 6 broches

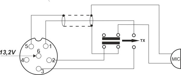
| vue côté broches | ![]() |
| N° | Câbles |
| 1 | Modulation |
| 2 | RX |
| 3 | TX |
| 4 | - |
| 5 | Masse |
| 6 | - |

ATTENTION:
Coté poste, la broche N°6 est alimentée en 13.2V,
ne pas remplacer un micro dynamique par un electret et inversement.



